Anlagen zum automatischen Längs- und Querteilen von Blechstreifen.

Spaltanlagen und Coilgeräte

Übersicht über unsere Lösungen für vollautomatisches Längs- und Querteilen

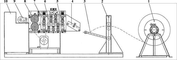
Spaltanlagen Typ 700

Maschinen für vollautomatisches Längsteilen und Querteilen von Bändern.

  • Die im Datenblatt aufgeführten Maschinen-Sektionen sind einzeln und in jeder Kombination zueinander lieferbar!

Datenblatt

Coilgeräte Typ 810 bis 814

  • Abrollgestell für Coilgewicht bis 900 kg (neu Rollen auch in Edelstahl lieferbar)
  • Transport und Abwickeln mehrerer Coils
  • universell an unterschiedlichen Arbeitsplätzen einsetzbar
  • ungeteilte oder 3-fach geteilte Rollen
  • lenkbares Untergestell
  • Feststellbremsen

Datenblatt

Spaltanlagen Typ 811 und 812

Abrollgerät für Coilgewicht bis 200 kg (neu Rollen auch in Edelstahl lieferbar)

  • leichter und einfacher Transport von Coils
  • Bedienung durch eine Person
  • Ausführung mit ungeteilten oder 3-fach geteilten Rollen

Datenblatt

Kombination Typ 814.03

Abrollgestell 810.03

  • Abrollgerät 811.03
  • 2-fach Bandführung (wie Abbildung unten)

Datenblatt